辭. 2025-03-26 11:49 采纳率: 50%
浏览 136
已结题

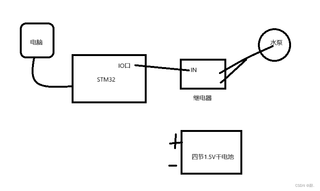
stm32水泵继电器驱动模块

求问各位友友,水泵继电器驱动模块可以单独外接电源吗,如果外接电源了,用单片机去驱动水泵模块会不会烧板子啊

img

  • 写回答

2条回答 默认 最新

  • 紫雾凌寒 新星创作者: 人工智能技术领域 2025-03-26 11:53
    关注

    让 “紫雾凌寒” 来帮你回答,本回答结合 DeepSeek

    如果还有问题,请评论或点击头像私信,如果有帮助到您, 请关注、采纳、点赞

    1. 关键点分析:
      - 主要关注水泵继电器驱动模块能否单独外接电源,以及外接电源后单片机驱动该模块是否会烧板子。需要考虑电源电压匹配、电流承载能力以及电路连接方式等因素。
    2. 解决方案:
      - 水泵继电器驱动模块通常是可以单独外接电源的。一般该模块会有一个电源引脚,可接入合适的直流电源,比如常见的5V或12V等。
      - 关于是否会烧板子,这取决于多个因素。首先要确保外接电源的电压与驱动模块的额定工作电压相符。例如,如果驱动模块额定电压是5V,却接入12V电源,很可能会损坏模块。
      - 其次,要注意单片机与驱动模块之间的连接方式。通常单片机通过控制引脚(如GPIO口)输出信号来控制继电器的吸合与断开。只要单片机输出的信号电平(如高电平或低电平)符合驱动模块的要求,且单片机引脚的输出电流在其承受范围内,就不会因为连接驱动模块而烧板子。
      - 例如,以常见的5V供电的继电器驱动模块为例,其控制引脚一般可直接与5V单片机的GPIO口连接,当单片机GPIO口输出高电平时,模块内部电路会使继电器吸合;输出低电平时,继电器断开。假设单片机GPIO口输出电流能力为几毫安,而驱动模块控制引脚的输入电流要求较小,这种连接是安全的。
    3. 多种方案优缺点:
      - 方案一:严格按照模块手册要求连接
      • 优点:最安全可靠,能最大程度避免因连接不当导致烧板子的风险。严格遵循手册中关于电源电压、控制信号等参数的规定,可确保系统稳定运行。
      • 缺点:需要仔细查阅手册,对于新手可能有一定难度,且操作相对保守,可能会限制一些灵活应用。
      • 方案二:先进行简单测试
      • 优点:在不确定完全了解模块特性时,先进行小范围测试,如使用可调电源逐渐增加电压观察模块反应,能快速发现问题所在,相对灵活。
      • 缺点:如果测试过程中操作不当,仍有损坏模块或单片机的风险,且可能需要一些额外的测试设备。
    4. 总结:
      - 水泵继电器驱动模块一般可单独外接电源,但要注意电源电压与模块额定电压匹配。单片机驱动该模块时,只要保证信号电平合适且引脚输出电流在承受范围内,通常不会烧板子。连接前仔细查阅模块手册,按要求操作,必要时先进行简单测试,可确保系统安全稳定运行。

    希望以上解答对您有所帮助。如果您有任何疑问,欢迎在评论区提出。

    本回答被题主选为最佳回答 , 对您是否有帮助呢?
    评论
查看更多回答(1条)

报告相同问题?

问题事件

  • 系统已结题 4月3日
  • 已采纳回答 3月26日
  • 创建了问题 3月26日