Cắt Đôi Nỗi Sầu 2025-06-10 22:34 采纳率: 0%
浏览 12

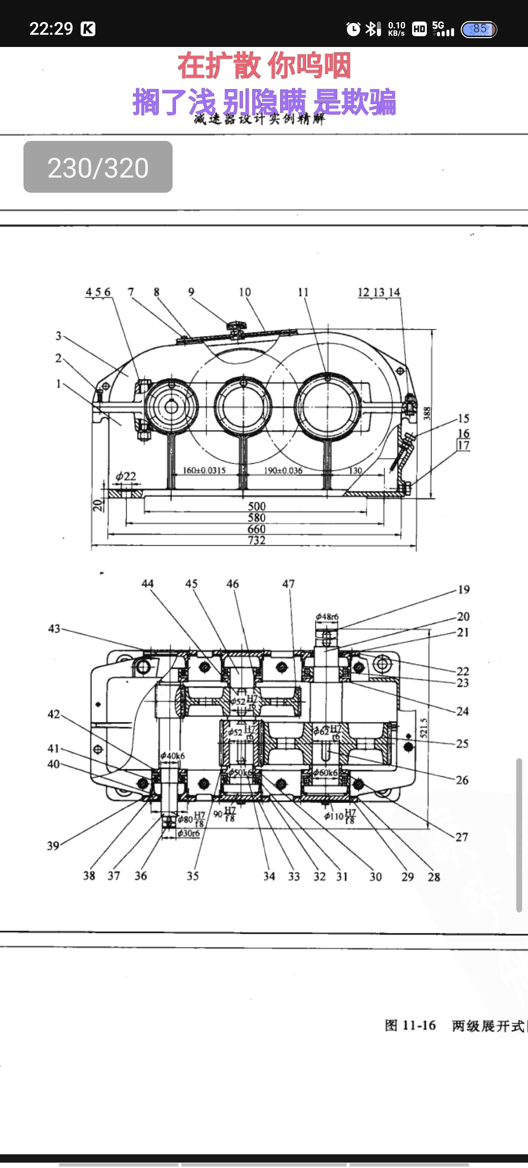
有没有专业人士可以画这个图,高价有偿(AO纸)

img

有没有专业人士解答,谢谢,所有费用我出,AO纸,正常进度就行

  • 写回答

6条回答 默认 最新

  • 阿里嘎多学长 2025-06-10 22:34
    关注

    阿里嘎多学长整理AIGC生成,因移动端显示问题导致当前答案未能完全显示,请使用PC端查看更加详细的解答过程

    问题解答

    你想知道是否有专业人士可以绘制AO纸的图形,并且愿意出高价支付费用。

    我的回答是:是的,有很多专业的设计师和艺术家可以绘制AO纸的图形。他们可以根据你的需求和预算来提供服务。

    如果你想找到这样的专业人士,可以尝试以下方法:

    1. 在线设计平台:可以在在线设计平台,如Upwork、Fiverr等,寻找专业的设计师和艺术家。
    2. 设计社群:可以在设计社群,如Behance、Dribbble等,寻找专业的设计师和艺术家。
    3. 本地设计公司:可以在本地设计公司寻找专业的设计师和艺术家。

    记住,在寻找专业人士时,需要明确你的需求和预算,以便找到合适的人选。

    代码

    无代码

    评论

报告相同问题?

问题事件

  • 创建了问题 6月10日